Es difícil convencer a alguien [que puede tener un buen sonido] hasta que tiene éxito tocando.
Arnold Jacobs
El sonido es sin duda una de las cualidades más alucinantes de cualquier buen músico. Podríamos pasar horas escuchando tocar a los mejores, inspirándonos para tocar mejor cuando nosotros mismos lleguemos al aula de estudio. Por desgracia, mucha gente piensa que el sonido es muy difícil de desarrollar, aunque parece que cada vez hay más evidencia que una estrategia adecuada tiene un gran impacto en su desarrollo.
Como ya has deducido por el título, esta semana dedicaremos dos posts al sonido. Hoy nos centraremos en la teoría del sonido, mientras que el domingo pasaremos a la acción.
La ciencia del sonido
A mediados del siglo pasado, la pedagogía del viento metal empezó a buscar apoyo en la ciencia con el fin de hacer el aprendizaje más objetivo y medible. Los dos campos de estudio principales fueron la anatomía, para ver cuáles eran nuestras capacidades, y la teoría del sonido o acústica, para conocer las necesidades físicas de la música (artículo, artículo, artículo, artículo).
Resonancia y el centro de la nota
Para un físico, el sonido es el fenómeno producido por una oscilación de ondas mecánicas a través de un fluido, sean audibles o no. Los músicos, sin embargo, llamamos sonido a lo que los físicos llaman timbre, que es una característica que describe la particular calidad del sonido por un instrumento particular. Cada instrumento e intérprete tiene un timbre diferente que le identifica. Pero, ¿por qué algunos nos gustan más que otros?

Los factores determinantes en la producción del sonido son 3: una membrana oscilatoria, un flujo de aire y un resonador (estudio). Además, las diferencias acústicas entre diferentes trompetas son mínimas. Hoy nos centraremos en el labio, la fuente de sonido que nos ayudarán a expresar nuestro mensaje musical. Otro día ya hablaremos del flujo de aire.
En acústica, el fenómeno responsable de la producción de sonido de nuestro instrumento se llama oscilación auto-excitada. Se trata de un sistema de tres elementos: la fuente de energía que produce el flujo de aire; el oscilador, en nuestro caso el labio, y el resonador. Éstos interactúan entre sí, generando un bucle donde los pulmones proporcionan energía en forma de aire y el resonador la amplifica, devolviendo una resistencia, que en física se llama impedancia. A partir de aquí, la teoría del sonido se complica un poco. Según la relación entre la presión del aire y la resistencia del instrumento, hay un punto óptimo de resonancia(para cada nota). Aplicando la cantidad exacta de presión, la impedancia del instrumento reforzará la vibración del labio, produciendo una nota centrada(estudio, estudio, estudio, estudio,). Pero cuidado, porque pasarse es tan malo como quedarse corto. En la gráfica puedes ver cómo varía la resistencia en relación al volumen (en decibelios) en cantantes (estudio).

¿Y esto por qué pasa?
Para encontrar el punto de equilibrio, tendrás que probar con un poco menos de aire primero hasta que superes la impedancia del instrumento. Por tanto, si el aire es inferior al necesario, el sonido no se produce. Al soplar demasiado fuerte, se te cerrarán los labios. Eso lo sabemos gracias a Daniel Bernoulli, un matemático del s. XVIII que descubrió que todos los fluidos responden a una relación: el producto de la velocidad y la presión son una constante, o lo que es lo mismo, + velocidad, – presión. Por tanto, si soplas muy rápido bajarás la presión, atrayendo lo que esté más cerca del fluido, en este caso el labio (estudio, estudio).
Como siempre, en el término medio está la virtud… y la mejor forma de encontrarlo es con mucha práctica.
Armónicos
El centro de las notas es maravilloso. Desde allí se producen los armónicos. En la teoría del sonido, esto significa que cada vez que tocas una nota en el centro, el instrumento te premia dejando resonar otras notas consonantes. Esto sucede porque los sonidos que se generan en un tubo abierto por los dos lados son ondas estacionarias. Para entenderlo, piensa primer en una onda como la de la imagen. Hay un generador que crea la onda de izquierda a derecha.

Si recuerdas, antes hemos dicho que el sonido se produce por un sistema de oscilación autoexcitada. Pues ahora vas a ver por qué. Cuando la onda llega al final, rebota y vuelve, y esa interacción es la que retroalimenta el sistema. Por eso el instrumento tiene la impedancia o resistencia que decíamos antes.

Resumiendo, cuando se produce un sonido eficiente, las ondas que van y las que vuelven se cruzan y amplifican. Si estas ondas están en equilibrio, el sonido es más resonante. Cuando esto pasa, se pueden autogenerar sonidos de la serie armónica de esa nota.
La serie armónica
La serie armónica es una sucesión de sonidos que se generan a partir de una nota o tono fundamental. Esos sonidos, llamados parciales, mantienen una relación de números enteros con la frecuencia fundamental. Veamos, por ejemplo, una nota de 100Hz a la que llamaremos Do por conveniencia. La siguiente nota de la serie sería el siguiente Do, de 2 veces la frecuencia inicial, es decir, 200Hz. Te dejo una imagen para que lo veas más claro.

¿De dónde viene esta relación en la frecuencia? Pues como hemos visto antes, hay unos puntos de la onda estacionaria que se cruzan. En la teoría del sonido se llaman nodos y, simplificando un pelín, determinan el parcial que suena. Por tanto, un nodo corresponde a la frecuencia fundamental, dos nodos al siguiente parcial (o armónico), tres nodos al siguiente, etc. Para que sea más ilustrativo, te dejo una representación de los primeros armónicos de una serie armónica. Imaginemos que el tubo dibujado representa la longitud de una trompeta capaz de tocar la serie armónica anterior, basada en el Do de 100Hz que nos hemos inventado para simplificar los cálculos.

Alternar series armónicas
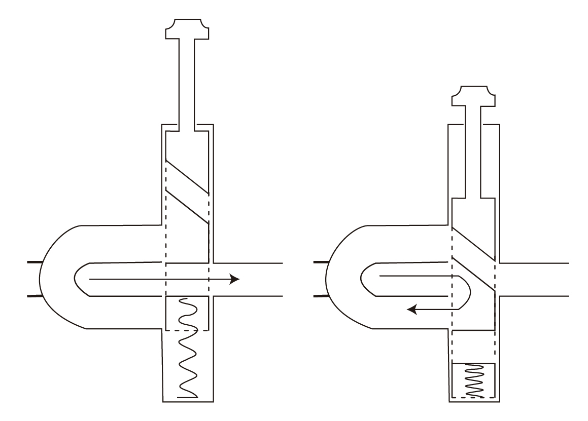
Si tu intuición va por delante, te lo confirmo: sí, esta característica es la que nos permite ir cambiando de una nota a otra sin tocar ningún pistón. Lo que pasa es que solemos empezar por el tercer parcial, que tiene una calidad más aceptable. El viento metal fue así de simple durante siglos, hasta que Anton Weidinger decidió inventar una trompeta cromática, allá por el año 1800. Sin embargo, el sistema que usamos hoy en día para conseguir la escala cromática es más sofisticado que Weidinger diseñó. Consiste en una combinación de pistones/cilindros/varas que alteran la longitud del tubo, permitiéndonos acceder hasta a 8 tubos diferentes (y por tanto series armónicas también) con sólo tres pistones. Para conseguirlo, desvían el aire por circuitos alternativos, modificando así la frecuencia de la nota fundamental.


Existe un problema que trataremos cuando hablemos de la afinación. A menudo, el centro de las notas no encaja con la afinación de la notaque queremos tocar. Esta limitación puede variar en función del instrumento. Sin embargo, este problema se puede solucionar cambiando la longitud del tubo usando posiciones alternativas. De hecho, según Christopher Leuba, esa solución es mejor que tratar de forzar la afinación con los labios, ya que no sacrifica resonancia.


En resumen
Hoy ha sido un poco más denso, pero espero que hayas entendido la teoría del sonido en viento metal. Simplemente se trata de un tubo abierto por ambos extremos que estimula la vibración de nuestro labio ayudado por el flujo del aire. En el próximo artículo veremos cómo, aprovechándonos de esto, podemos cambiar un poco la forma de estudiar. Hasta entonces, ¿por qué no me dices qué opinas de todo esto? ¿Crees que nos puede ayudar a tocar mejor o es demasiado técnico? ¡Hasta el domingo!



